Tuesday, August 21, 2012

Patent: Sony wants to convert TV commercials into interactive networked video games with PlayStation Move support


new Sony patent that will allow television commercials to be played as online social games    using the PS3 & other devices some games are shown using the PlayStation Move.


"System for converting television commercials into interactive networked video games 

Abstract
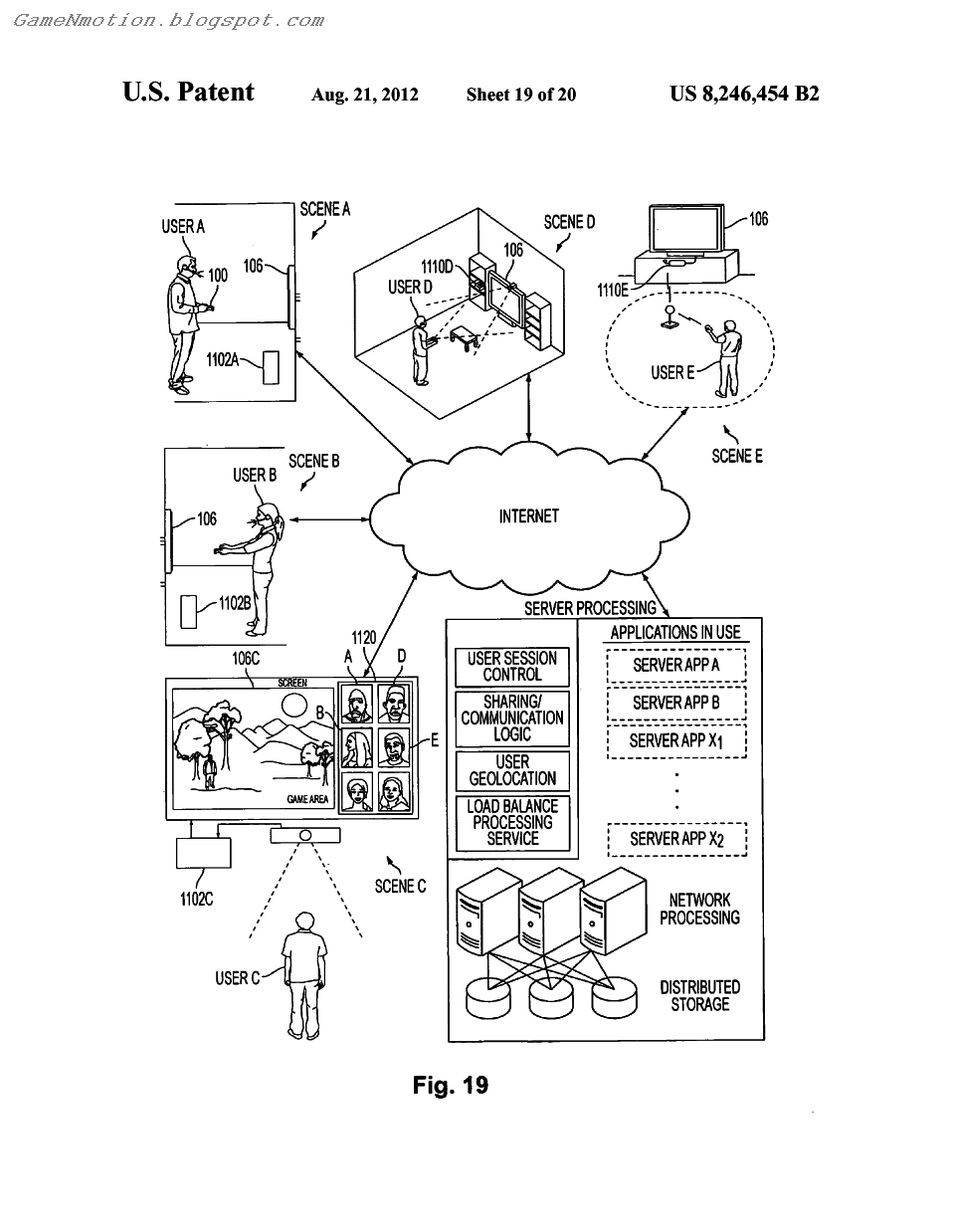
Methods, systems, and computer programs for converting television commercials into interactive network video games are presented. In one method, a broadcast or streamed commercial is accompanied by an interactive segment. A media player coupled to the broadcast or streaming media source identifies the existence of the interactive segment and presents the user with an enhanced and interactive mini-game commercial that can be played with other "viewers" in a common or disperse demographic. Multiple methods for content delivery are provided, including a model where television commercial is inserted within consecutive frames of the television program, and a model where the commercial is overlaid on frames of the television program allowing the user to play the game while the television program is displayed. In a preferred embodiment, the termination of the interactive mini-game commercial is set within a fixed time period commensurate with traditional spot television advertising. "

























2 comments:

  1. What a nice idea. As a teacher I have never gotten such a thing and I know your child's teacher will be very touched. Teachers usually get most supplies needed or will buy them or have specific things in mind that may be hard to know. If there are elem. age kids then crayons, coloured pencils, erasers, pencils, little sharpeners, prizes for the kids such as stickers or other little things are always needed and used
    tv channels live in india

    ReplyDelete
  2. It’s really such nice information to get advantage from.strategy card battle game

    ReplyDelete